iTV/Apple TV: Het laatste nieuws
In dit artikel verzamelen wij het laatste nieuws en de heetste geruchten rond Apple TV. Aangezien Steve Jobs in zijn biografie bekend maakte dat hij al enige tijd aan een Apple-televisie werkte, nemen we hierbij ook alle berichten over Apple's onaangekondigde HDTV mee.
iTunes Radio ook beschikbaar op Apple TV
Toegevoegd op 23 juni 2013
iTunes Radio wordt niet alleen beschikbaar op de iPhone, iPad en iPod touch, maar ook op de Apple TV. De betaversie van het nieuwe iOS-besturingssysteem voor de Apple TV biedt al ondersteuning voor Apple's radiodienst.
Apple kondigde op de WWDC al aan dat iTunes Radio ook op de Apple TV beschikbaar wordt. AppleInsider meldt dat de beta-software dit bevestigt. Het startscherm van het apparaat is voorzien van de optie iTunes Radio. De radiodienst is beschikbaar als een app.
'iTV wordt Apple's Ultra HD TV avontuur'
Toegevoegd op 27 maart 2013
Bronnen melden aan Digitimes dat de iTV, het tv-project van Apple, Ultra HD ondersteunt, evenals bewegings- en stembediening. De iTV, die verwacht wordt aan het eind van dit jaar maar waarschijnlijk begin 2014, ondersteunt de resolutie van 3840x2160.
Apple was al langer in onderhandeling met Foxconn, maar kijkt nu, aldus het verhaal op Digitimes, ook en vooral naar andere leveranciers voor de productie van de beeldschermen.
Ook LG is in beeld als de massaproducent van Ultra HD beeldschermen. Als het LG lukt om genoeg schermen te leveren halverwege 2013, is de kans groot volgens de bronnen van Digitimes, dat de iTV nog in 2013, en dan waarschijnlijk op tijd voor de feestdagen van december, verkrijgbaar zal zijn.
De HDTV moet een televisie worden waarop gebruikers met behulp van een menukaart zelf een keuze kunnen maken uit een breed aanbod van content. Consumenten krijgen hierdoor meer vrijheid en bepalen zelf welke content zij wel of juist niet willen bekijken. Dit zou dan ook het punt zijn waarop de iTV zich onderscheidt van andere Smart TV's.
Apple probeert deals te sluiten met verschillenden mediabedrijven om content op het apparaat aan te kunnen bieden. Het in handen krijgen van de juiste rechten kan echter tot problemen leiden voor een internationale lancering, aangezien het bedrijf in veel landen andere rechten moet zien te bemachtigen.
Voor welk bedrag de iTV te koop zal zijn is nog niet bekend, al is wel duidelijk dat het apparaat niet goedkoop zal worden. Analisten noemen prijzen tussen de 1.000 en 2.000 euro. Een gemiddelde prijs van 1.250 dollar, zo'n 1.000 euro wordt het vaakst genoemd.
De iTV wordt nog steeds getest in Apple's onderzoekscentrum
Toegevoegd op 15 februari 2013
Al lange tijd gaan er geruchten dat Apple werkt aan een eigen televisie. Het apparaat, ook wel iTV genoemd, wordt op dit moment echter nog steeds getest in het research & development-center (R&D-center) van Apple. Het lijkt er dan ook op dat we nog wel even moeten wachten op de komst van het apparaat.
Anonieme bronnen van iMore stellen dat er weinig beweging zit in de ontwikkeling van de iTV. Het prototype dat op dit moment in het R&D-center van Apple staat zou al maanden in het gebouw aanwezig zijn. Medewerkers van Apple zouden het prototype nog steeds aan testen onderwerpen.
Geen lancering in 2013
De iTV wordt volgens eerdere geruchten nog in 2013 door Apple gelanceerd. Een gerucht van bronnen binnen Apple's leveranciersketen deed eind december al vermoeden dat de lancering echter wel eens langer op zich zou kunnen laten wachten. Ook het nieuws dat de iTV nog steeds in Apple’s onderzoekscentrum wordt getest wijst hierop.
Apple's eigen televisie wordt naar verwachting een HDTV waarop Apple content via een soort menukaart wil aanbieden. Gebruikers kunnen zelf bepalen welke content zij willen bekijken en betalen hiervoor een vast bedrag per maand. Geruchten stellen echter dat Apple bij het sluiten van contracten met contentleverancier echter tegen problemen aanloopt.
Apple huurt OLED-expert van LG Display in
Toegevoegd op 9 februari 2013
Apple neemt voormalig LG Display-onderzoeker Jueng-jil Lee in dienst. Lee is vooral ervaren op het gebied van OLED. Zo is Lee voor zijn tijd bij LG werkzaam geweest bij Cambridge Display Technology, een bedrijf dat is gespecialiseerd in de ontwikkeling van OLED-schermen op basis van polymeer.
Het is niet met zekerheid te zeggen welke taken Apple voor Lee in gedachte heeft. OLED Association meldt dat Lee kort geleden voor LG Display nog aan een project werkte waarbij OLED-technologie is ingezet voor een TV-toepassing. Om welk product het precies gaat is niet duidelijk. Lee zou in ieder geval over meer kennis op het gebied van OLED beschikken dan iedere andere huidige medewerker van Apple.
Markt voor LCD-televisies
Het in dan ook goed mogelijk dat Lee zich bij Apple gaat richten op de ontwikkeling van een TV. Apple zou door in de TV-markt te stappen een nieuwe productgroep willen aanboren waarmee het bedrijf zijn omzet kan vergroten. Het is echter de vraag of de markt voor LCD-televisies hier echt geschikt voor is. De markt voor LCD-televisie zit de afgelopen twee jaar in het slop en is slechts langzaam gegroeid.
Tegelijkertijd stelt OLED Association echter dat het instappen van Apple in de LCD-markt voor zowel de markt als Apple interessant is. Gezien de slechte prestaties van de LCD-markt in zijn geheel zou onder leveranciers van LCD-panelen een grote behoefte zijn aan een nieuwe marktleider die meer LCD-panelen inkoopt.
TV moet financiële cijfers van Apple verbeteren
De financiële cijfers van Apple staan daarnaast de laatste tijd flink onder druk. Het bedrijf blijft groeien, maar voldoet desondanks niet aan de hoge verwachtingen van analisten. Apple zou daarom 'wanhopig op zoek zijn' naar een nieuw product dat de omzetgroei die het bedrijf tot nu toe met de iPhone en iPad wist te behalen kan evenaren.
HBO en Apple slaan handen ineen op AppleTV
HBO zit in de lift; de series en films van de Amerikaanse producent winnen de ene na de andere prijs, seizoensaankondigingen laten fans op Facebook in katzwijm vallen en zelfs Barack Obama is fan van Homeland en heeft onlangs op eigen verzoek Damian Lewis ontboden op het Witte Huis voor een kopje thee. En dan is er nu een partnership met AppleTV.
De HBO GO application zal beschikbaar komen op Apple TV halverwege 2013. Consumenten met een abonnement op HBO zullen meer dan 600 uur aan film en tv-series van HBO via het AppleTV kastje kunnen ontsluiten. Als je aan dat kastje ook een toetsenbord hangt, is je tv-ervaring compleet.
HULU en Netflix
Het is de eerste app op het platform van Apple, die gebruik maakt van tv-authenticatie: kabel- en satteliet abonnees van HBO krijgen via tv toegang. Op dit moment zijn alleen HULU en Netflix de enige apps op Apple TV waar je een abonnement op moet hebben, HBO Go komt daar dus bij.
HBO Go is op dit moment al beschikbaar op de iPad en op de iPhone. Als de deal doorgaat is dit een volgende stap voor de succesvolle film- en serieproducent in de uitrol van de contentdistributie. In Nederland levert onder anderen Ziggo meerdere HBO-kanalen.
Apple TV-iOS 5.2 bevat verwijzing naar nieuwe, onbekende Apple TV
Toegevoegd op 30 januari 2013
iOS 5.2 voor de Apple TV bevat een verwijzing naar een nieuwe, onbekende Apple TV. Het gaat mogelijk om een kleine update van de huidige Apple TV, die mogelijk internationaal beschikbaar wordt gesteld.
Het gaat om de verwijzing 'AppleTV3,2'. De verwijzing duikt op naast 'AppleTV2,1' en 'AppleTV3,1', die verwijzen naar de tweede en de huidige derde generatie Apple TV. Dit doet vermoeden dat naar de vierde generatie Apple TV zal worden verwezen met 'AppleTV4,1'.
Kleine update voor bestaande Apple TV
De verwijzing 'AppleTV3,2' lijkt daarom niet te verwijzen naar een nieuwe generatie Apple TV, maar slechts een relatief kleine update voor de bestaande generatie. Het is niet met zekerheid te zeggen welke wijzingen Apple in dit apparaat doorvoert. MacRumors meldt dat Apple werkt aan een nieuwe Apple TV, die de codenaam 'J33I' draagt. De huidige Apple TV draagt de code 'J33', wat het vermoeden over een kleine update voor de bestaande Apple TV ondersteunt.
Het is onbekend waar de 'i' in 'J33I' voor staat. MacRumors speculeert dat de letter staat voor het woord 'internationaal', wat zou betekenen dat Apple de derde generatie Apple TV wereldwijd beschikbaar gaat stellen.
Apple’s HD-televisie verschijnt waarschijnlijk niet in 2013
Toegevoegd op 19 december 2012
Apple’s televisie verschijnt waarschijnlijk niet in 2013. De ontwikkeling van de televisie bevindt zich in een dusdanig vroeg stadium dat het onwaarschijnlijk is dat het apparaat volgend jaar al in de winkels ligt.
Dit zegt een anonieme bron binnen Hon Hai Precision, het moederbedrijf van Foxconn, tegen Focus Taiwan. Het apparaat wordt op dit moment volgens de bronnen uitgebreid getest. Dit komt overeen met informatie van anonieme die The Wall Street Journal eerder deze maand naar buiten bracht.
Testfase net gestart
Deze bronnen wisten echter geen leveringsdatum te noemen. Eerdere geruchten stelde dat Apple’s televisie, die mogelijk iTV gaat heten, in 2013 wordt gelanceerd. De bron van Focus Taiwan spreekt dit dus tegen. De testfase van het apparaat zou pas net van start zijn gegaan, waardoor een lanceringsdatum in 2013 onrealistisch zou zijn.
Ook stelt de bron dat het nog onduidelijk is via de schermen van de televisie gaat leveren. De bron acht de kans dat de schermen door Sharp worden geleverd echter klein. Apple zou namelijk op zoek zijn naar schermen tussen de 46 en 55 inch, terwijl Sharp deze niet kan leveren.
Apple test meerdere ontwerpen voor eigen HD-televisie
Toegevoegd op 13 december 2012
Apple voert momenteel testen uit met meerdere ontwerpen voor een eigen HD-televisie. Meerdere Aziatische leveranciers, waaronder Sharp en Foxconn-moederbedrijf Hon Hai Precision, zouden bij de testfase zijn betrokken.
Dit meldt The Wall Street Journal op basis van anonieme bronnen binnen Apple’s leveranciersketen. De bronnen melden dat Apple meerdere proefmodellen van de HD-televisie heeft laten ontwikkeld en de varianten uittesten. Het is overigens niet voor het eerst dat Apple testen uitvoert met televisietoestellen. Apple zou hier al enkele jaren mee bezig zijn.
Nog geen officieel project
De bronnen melden dat de ontwikkeling van een HD-televisie van Apple zich op dit moment in een zeer vroeg stadium bevind. De televisie zou nog geen officieel project van Apple zou en zich op dit moment bevinden in de testfase. Het lijkt er dan ook niet op dat we Apple’s HD-televisie op korte termijn hoeven te verwachten.
Dat Apple interesse heeft in het ontwikkeling van een eigen televisieset is geen geheim. Apple-CEO Tim Cook gaf deze maand in een interview met NBC’s Rock Center nog de markt voor televisies erg interessant te vinden en van mening te zijn dat de ontwikkeling van televisies achterblijft bij andere apparaten. Het ligt dan ook voor de hand dat Apple experimenteert met een eigen televisie.
'iTV verschijnt in de eerste helft van 2013 op de markt'
Toegevoegd op 13 november 2013
Apple lanceert de iTV in de eerste helft van 2013. Het bedrijf wacht met de lancering tot de iPhone 5S, de opvolger van de iPhone 5, op de markt is verschenen.
Dit meldt The Chinese Times op basis van anonieme bronnen. Het gerucht komt overeen met een eerdere analyse van Peter Misek, analist bij Jefferies & Co. Misek meldde in augustus in een onderzoeksnotitie dat de productie van de iTV inmiddels van start is gegaan, maar het apparaat pas in 2013 op de markt verschijnt. De prijs wordt door de analist geschat op 1.250 dollar, iets meer dan 1.000 euro.
De bronnen van The Chinese Times weten helaas geen details over de iTV te melden. De iTV is volgens eerdere geruchten een HDTV van Apple, die gebruikers de mogelijkheid biedt via een soort menukaart een pakket van content samen te stellen. Om dit mogelijk te maken zou Apple in de gesprek zijn met verschillende mediabedrijven die de content ontwikkelen.
The Chinese Times weet verder te melden dat Apple werkt aan een vijfde generatie iPad, die de onlangs gelanceerde vierde generatie moet vervangen. De nieuwe iPad ligt volgens de bronnen in het voorjaar van 2013 al in de winkels.
Via: Digitimes
'Apple kan 2,5 miljard dollar verdienen door iTV voor kerst te lanceren'
Toegevoegd op 29 september 2012
Apple kan 2,5 miljard dollar, zo'n 1,95 miljard euro, verdienen door de iTV voor de kerst te lanceren. Het lijkt er echter niet op dat dit gaat gebeuren, aangezien de gesprekken tussen Apple en contentleveranciers moeizaam verlopen.
Dit stelt Peter Misek, een analist bij Jefferies & Co.. Misek gaat er in deze berekening vanuit dat de iTV voor 1.250 dollar over de toonbank gaat. Apple is al langer in gesprek met leveranciers van content die het bedrijf on-demand wil aanbieden via de iTV. Apple heeft tot nu toe echter geen overeenkomsten weten te sluiten.
Grote vraag naar de iTV
De iTV lijkt overigens erg populair te gaan worden. Onderzoek van Quixel Research wijst uit dat maar liefst 88 procent van Apple's klanten en 80 procent van de eigenaren van een TV met platte beeldbuis in de Verenigde Staten geïnteresseerd zou zijn in een televisie van Apple. Een kleine kanttekening hierbij is echter wel dat de prijs van het apparaat niet in dit onderzoek is meegenomen.
Potentiële kopers van de iTV hebben een duidelijke voorkeur voor een aantal features. 80 procent van gebruikers zegt behoefte te hebben aan een ingebouwde WiFi-verbinding, terwijl 73 procent graag de mogelijkheid om bestanden op te slaan in de cloud in de iTV terugziet. 67 procent van de Amerikaanse potentiële klanten is vooral geïnteresseerd in de mogelijkheid de televisie te synchroniseren met andere apparaten.
Foutmelding in iOS 6 beta wijst op iBooks voor Apple TV
Toegevoegd op 5 september 2012
De nieuwe iOS 6 beta voor de Apple TV bevat een foutmelding die erop wijst dat de e-boekenapp iBooks naar de settopbox komt. iBooks is op dit moment alleen beschikbaar op de iPhone, iPad en iPod touch.
De foutmelding werd ontdekt door AppleInsider. De foutmelding duikt op een Apple TV op, zodra je op iOS een e-boek in de iBookstore koopt. De foutmelding stelt dat de Apple TV automatisch heeft geprobeerd de iBooks-content te downloaden, maar dat deze niet beschikbaar is aangezien de vereiste software niet op de Apple TV is geïnstalleerd.
iBooks-app
De iBooks-app is in de iOS 6 beta nog niet beschikbaar. Het is dus niet mogelijk de vereiste software te installeren zodat het e-boek gedownload kan worden. De foutmelding is echter een duidelijk aanwijzing dat Apple werkt aan een Apple TV-variant van de app.
Ook op andere iOS-apparaten zoals de iPhone en iPad kan de foutmelding tevoorschijn worden getoverd zolang de iBooks-app niet op het apparaat is geïnstalleerd. iBooks kan op deze apparaten echter gewoon uit de App Store worden gedownload.
iBooks voor de Mac
Opvallend genoeg is de iBooks-apps ook nog niet beschikbaar op het OS X-platform. Een Mac is een meer voor de hand liggend apparaat om een e-boek op te lezen dan een TV. Het lijkt voor Apple dan ook een logischere keuze de app eerst voor de Mac uit te brengen.
Apple's Eddy Cue: 'Apple iTV wordt voorlopig niet gelanceerd'
Toegevoegd op 25 augustus 2012
We hoeven Apple's iTV niet op korte termijn verwachten. Het bedrijf zou pas in de markt willen betreden als Apple echte problemen kan oplossen. Apple denkt hierbij aan de kwaliteit van de interface van televisies of het ontbreken van de mogelijkheid een eigen pakket met zenders samen te stellen.
Dit voorspelt Eddy Cue, Apple's Senior Vice President van de internet en software-afdeling van Apple. Cue deed de uitspraken in een gesprek met analist Andy Hargreaves van Pacific Crest (via Fortune). Ook Apple-CFO Peter Oppenheimer was bij het gesprek aanwezig. Hargreaves stelt naar aanleiding van het gesprek dat het 'extreem onwaarschijnlijk' is dat Apple op korte termijn een iTV lanceert.
Content aanbieden
Apple zou zich op dit moment vooral richten bij het vinden manier om content op de iTV aan te bieden. De methode moet afwijken van de wijze waarop content beschikbaar is op huidige televisies. Apple bleek onlangs in gesprek te zijn met kabelmaatschappijen voor het aanbieden van hun content. De content zou onder andere on-demand beschikbaar moeten worden.
Het bedrijf ging eerder ook al in gesprek met mediabedrijven, de bedrijven die de content ontwikkelen. Deze gesprekken liepen echter op niets uit. Apple schopte daarnaast kabelmaatschappijen tegen het been door content direct bij de makers af te nemen en kabelmaatschappijen dus buitenspel te zetten.
'iTV is in productie, maar wordt mogelijk pas in 2013 gelanceerd'
Toegevoegd op 20 augustus 2012
De iTV is op dit moment in productie. Apple zou zich echter volledig willen richten op de lancering van de iPad mini. De iTV verschijnt daarom mogelijk pas in 2013 op de markt.
Dit schrijft Peter Misek, analist bij analistenbureau Jefferies & Co, in een onderzoeksnotitie voor investeerders die in handen is van MacRumors. De iTV zou inmiddels 'volledig in productie' zijn. Apple zou deals willen sluiten met providers als AT&T en Verizon, maar gelijktijdig ook een set-top box als alternatief bieden om kabelproviders tevreden te houden.
Gemiddelde prijs
De analist schat in dat de iTV voor gemiddeld 1.250 dollar, iets meer dan 1.000 euro, over de toonbank zal gaan. Wat betreft het moment waarop Apple de iTV lanceert houdt Misek een kleine slag om de arm. De analist stelt dat de lancering van de iPad mini voor het vierde kwartaal van 2012 op de planning staat. De iTV zou vervolgens eveneens in het vierde kwartaal van 2012 of in het eerste kwartaal van 2013 op de markt verschijnen.
Misek waarschuwt tot slot dat Apple mogelijk een probleem heeft met Sharp, dat verantwoordelijk is voor de levering van de schermen voor de iTV. Sharp heeft te kampen met financiële problemen, die volgens Misek er zelfs toe kunnen leiden dat het bedirjf failliet gaat.
Apple wil Apple TV omtoveren tot settop-box
Toegevoegd op 16 augustus 2012
Apple is in gesprek met kabelmaatschappijen in de Verenigde Staten om de Apple TV te gebruiken als settop-box. Gebruikers van de Apple TV zouden hierdoor TV-shows kunnen bekijken via de Apple TV.
Dit melden bronnen van The Wall Street Journal. Apple wil al langer TV-shows aanbieden op de Apple TV. Het bedrijf voerde eerder gesprekken met mediabedrijven, waarbij Apple dus probeerde kabelmaatschappijen buiten spel te zetten. Door in gesprek te gaan met kabelmaatschappijen stapt Apple van deze strategie af.
Content van kabelmaatschappijen
Een overeenkomst zou betekenen dat kabelmaatschappijen hun content via de Apple TV op de televisie van gebruikers kunnen aanbieden. Het is niet duidelijk in welke Apple TV Apple een dergelijke feature wil aanbieden. Het is dus goed mogelijk dat de functie pas in een volgende generatie van de Apple TV beschikbaar zal zijn.
De bronnen van The Wall Street Journal melden dat de technologie niet alleen in de Apple TV, maar ook in televisies ingebouwd kan worden. De technologie maakt het niet alleen mogelijk live televisie te kijken, maar ook om eerder uitgezonden programma's terug te zien.
Nederland
Aangezien de gesprekken worden gevoerd met kabelmaatschappijen in de Verenigde Staten lijkt het erop dat wij in Nederland niet direct voordeel zullen halen uit een mogelijke overeenkomst.
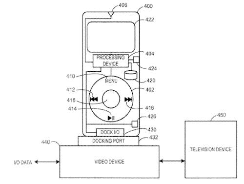
Apple krijgt patent voor digitale video recorder op HDTV toegewezen
Toegevoegd op 15 augustus 2012
Het Amerikaanse Patent and Trademark Office wijst Apple een patent toe waarin concepten worden getoond voor een digitale video recorder en andere interfaces voor een televisie.
Het patent dook in maart 2008 voor het eerst op in een patentvraag, maar is nu pas goedgekeurd. Het patent beschrijft een interface waarmee gebruikers op de HDTV opnamens van televisieuitzendingen kunnen instellen. Ook bevat het patent een afbeelding van een menu met verschillende televisiekanalen, waarbij de titel van het uitgezonden programma wordt vertoond.


Apple beschrijft in het patent daarnaast een iPod-achtig apparaat waarmee de HDTV kan worden bestuurd. Het apparaat heeft een ronde schijf met daarin een knoppen voor afspelen en pauzeren, door- en terugspoelen en het menu. Het apparaat kan worden aangesloten op een dockingstation.

Via: Patently Apple
'iTV is in eerste instantie alleen in VS beschikbaar'
Toegevoegd op 28 juli 2012
De iTV of HDTV van Apple is na de lancering in eerste instantie alleen in de Verenigde Staten (VS) beschikbaar. De beperking heeft vooral te maken met het afsluiten van licenties met de alle betrokken partijen.
Dit zeggen analisten tegen Stuff.tv. Giles Cottle, analist van de markt voor breedbandcontent en online video bij Informa, zegt verbaasd te zullen zijn als de iTV in eerste instantie niet beperkt zal zijn tot de VS. Cottle omschrijft de rechten op content als een grote last waar per land veel tijd aan moet worden besteed.
Lancering in fases
Ook marktanalist Veronica Thayer van IHS verwacht dat Apple de iTV in fases in verschillende landen zal uitbrengen. Thayer stelt dat het noodzakelijk is goede content aan te bieden om de iTV een succes te laten worden. Door het apparaat in eerste instantie alleen in de VS te lanceren kan Apple het apparaat aanpassen aan de wereldwijde markt.
Paul Erickson, eveneens werkzaam voor IHS, wijst op het feit dat de iTunes Store in de Verenigde Staten veruit de meeste video's bevat. Een lancering die zich beperkt tot de VS is volgens Erickson voor Apple dan ook een logische keuze
'Apple TV krijgt een Retina Display'
Toegevoegd op 17 juli 2012
Apple heeft het Retina Display inmiddels geïntroduceerd in zowel de iPhone, iPad als MacBook Pro. Raymond Soneira, oprichter en CEO van DisplayMate Technologies, verwacht dat Apple deze trend voortzet bij de Apple HDTV of iTV.
Soneira zegt tegen CNET dat het Apple niet zo zeer gaat om de resolutie die een Retina Display biedt. Apple zou vooral geïnteresseerd zijn in een consistente en nauwkeurige weergave van kleuren op zijn apparaten. Het bedrijf zou de technologie willen introduceren in alle 'premium producten', waar ook de Apple HDTV onder zou vallen.
Consistente weergave
Door al zijn apparaten te voorzien van een Retina Display zou Apple er dus voor willen zorgen dat een foto op exact dezelfde manier wordt weergegeven op bijvoorbeeld je iPhone, iPad en Apple HDTV. Deze consistente weergave van beelden is volgens Soneira de reden dat Apple geen genoegen neemt met een set-top box als de Apple TV en werkt aan een eigen HDTV.
Veel eerder geruchten stellen dat een HDTV van Apple nog lange tijd op zich zal laten wachten aangezien de technologie die een Retina Display op groot formaat mogelijk maakt nog niet beschikbaar is. Soneira spreekt dit tegen en stelt dat veel huidige HDTV's met een resolutie van 1920x1080 wat betreft scherpte al als 'Retina Displays' beschouwd zou kunnen worden. Soneira stelt dan ook dat de technologie al beschikbaar is.
Tweede scherm-applicatie voor iOS en Apple TV
Toegevoegd op 27 juni 2012
Brightcove heeft gisteren App Cloud Core voorgesteld, een app-platform dat ontwikkelaars toelaat iOS-apps te creëeren via JavaScript en HTML5. Eén van de grote vernieuwingen is dat ontwikkelaars nu ook gemakkelijk dual-screen apps in het leven kunnen roepen, waarbij iOS-apparaten zoals de iPad of de iPhone media kunnen streamen naar de Apple TV.
Hierbij zou je bijvoorbeeld op je iPad een quizvraag over een bepaalde afbeelding kunnen oplossen, terwijl op je televisie de afbeelding in kwestie te zien is - om zomaar een voorbeeld te geven. Een andere mogelijkheid is videogamen op de TV, terwijl je iPad/iPhone als afstandsbediening werkt. De twee schermen werken dus in interactie met elkaar.
Dit voedt de geruchten dat Apple's veelgeciteerde iTV wel eens een televisie zou kunnen worden wiens voornaamste troef op Airplay berust. Denk aan een televisie die volledig bediend kan worden door je iPhone of iPad, waarbij apps fungeren als een soortement televisiekanaal.
Sinds de beroemde uitspraak van Jobs in de biografie van Issacson dat hij "de code gekraakt had" m.b.t. de heruitvinding van de televisie wordt Apple druk geassocieerd met een aankomende televisieset. Of Apple ook daadwerkelijk een eigen televisie zal produceren is vooralsnog onduidelijk, maar met de Dual Screen Solution van Brightcove heeft het alvast een middel beet om apps naar de televisie te streamen.
[youtube]A1RjXsLZ2Ik[/youtube]
Sharp levert LCD-schermen voor iTV in derde kwartaal
Toegevoegd op 22 juni 2012
Gisteren publiceerde de Chinese nieuwssite 21cbh.com een rapport over de nieuwe leveringen van Sharp aan Apple. Volgens analist Brian White van Topeka Capital Markets verwachtte Apple de LCD-schermen voor hun nieuwe televisie pas in het vierde kwartaal van 2012. Nu blijkt dat Sharp deze leveringen een kwartaal vroeger heeft gepland.
Het rapport zou zich baseren op betrouwbare bronnen bij Sharp. Zo zouden er zowel werknemers als managers informatie over de leveringen aan Apple gelekt hebben. "Naar mijn mening zal het een leuke kerstmis worden voor Apple en hun klanten", aldus White. "Toch zal het noodzakelijk zijn om de datum van verscheping op te volgen want deze kan door omstandigheden alsnog wijzigen".
In maart kocht Foxconn zo'n 10 procent van de aandelen van Sharp, goed voor 808 miljoen dollar. Hiermee zou deze laatstgenoemde zijn concurrentiepositie kunnen verbeteren in de LCD-business. Toch lijkt de deal met Sharp meer dan dat: vele analisten vermoeden dat beide fabrikanten anticiperen op de verwachtte televisie set van Apple.
Brian White gelooft dat Apple in de toekomst zal komen met een volledige HDTV. En White is duidelijk niet de enige die dergelijk prognose stelt.
Krijgt iTV bewegingsbesturing en touch-afstandsbediening?
Toegevoegd op 11 juni 2012
AppleInsider brengt verslag uit van een nieuw gerucht dat de ronde doet omtrent de iTV: analist Brian White, werkzaam bij Topeka Capital Markets en full-time Apple-orakel, zegt dat Apple op het einde van het jaar een eigen televisie zal voorstellen. Dat werd hem in Taiwan verteld door een bron die "dicht bij het productieproces staat".
Bovendien zou de televisie een "speciale vorm van bewegingsdetectie" bevatten, die ineens het toestel zou bedienen. IPhoneclub vergelijkt deze op haar website met de Kinect-bewegingssensor van de Xbox 360. Daarnaast zou het apparaat ook een uniek afstandsbediening meekrijgen, dat fungeert op basis van touchscreen. Dit afstandsbediening zou qua design gelijkenissen met de iPad vertonen, maar zou uit plastic bestaan in plaats van het aluminium design van de iPad.
IPhoneclub vermoedt dat in dit geval ook de remote-app voor de iPhone en de iPad een update zou krijgen, waardoor de iTV ook te bedienen zal zijn via de gevestigde waarden. Dit zou meteen ook het patent kunnen verklaren dat Apple afsloot voor een universele afstandsbediening voor iOS-apparaten.
White heeft reeds meerdere voorspellingen gedaan wat betreft de iTV, waarvan de meest recente stelde dat de Apple-televisie twee tot zes maanden voor haar lancering reeds zal worden voorgesteld, opdat de app-ontwikkelaars voldoende tijd hebben om hun software te ontwikkelen. Als deze voorspelling, in combinatie met bovenstaande, correct is, zou dit betekenen dat de iTV ten vroegste pas vanaf 2013 verkrijgbaar zou zijn.
Update 5.0.2 voor Apple TV beschikbaar
Toegevoegd op 6 juni 2012
Sinds gisterenavond kunnen de gebruikers van de tweede en derde generatie Apple TV's hun firmware updaten. Op het eerste gezicht lijkt de update geen direct zichtbare nieuwe functies of apps te installeren. Deze voorzichtige update is waarschijnlijk te wijten aan de Worldwide Developers Conference van maandag aanstaande. Op deze conferentie worden traditiegetrouw belangrijke nieuwe software en hardware gelanceerd.

Om de update 5.0.2 te installeren, moet je via instellingen op de categorie 'algemeen' klikken. Onder deze categorie kan je de optie 'software-update' vinden. Dit is de enige manier om de Apple TV te updaten.
Gebruikers die een jailbreak geïnstalleerd hebben op hun Apple TV stellen de update beter even uit. Zo is het voorlopig nog onduidelijk welk effect deze update heeft op de huidige jailbreak.
"Kracht van iTV zal schuilen in haar AirPlay en haar apps"
Toegevoegd op 4 juni 2012
Jeremy Allaire, CEO en stichter van online videoprovider Brightcove, heeft op de website van All Things D zijn licht laten schijnen over de iTV. Volgens hem zal het televisiescherm zelf geen belangrijke rol spelen in de machtsontplooiing van de televisieservice van Apple. Sterker nog, het beeldscherm zal louter als "een scherm" fungeren om iOS op te doen werken.
Waar Apple dan wel mee zal uitpakken, zijn meer dan een half miljoen apps en de AirPlay-technologie, voegt Allaire toe aan zijn betoog. Apple zou de televisiemarkt dus niet op hardwaregebied aanvallen: er zullen wel HDTV's geproduceerd worden door Apple, maar omwille van de lange levenscyclus van het product zal Apple ook haar bestaande set-top box bijwerken tot een apparaat dat FaceTime, en spraak- en bewegingstechnologie ondersteunt.
De nieuwe add-on voor de modale HDTV zou slechts enkele centimeters groot en zeven tot acht centimeter breed zijn. Op deze manier zal Apple een enorm deel van het televisiekijkende publiek in één klap kunnen aanspreken.
Wat Allaire dus voorspelt, is dat Apple niet zal proberen unieke media-inhouden te leveren of de kabelmaatschappijen op hun eigen terrein zal trachten te verslaan. In plaats hiervan zal het mogelijk zijn de programma's van kabeltelevisie te ontvangen via hun zelf ontwikkelde app. Via Airplay zou iedere iPhone of iPad dan de iTV kunnen detecteren, en deze vervolgens als scherm kunnen gebruiken om audio of video op af te spelen.
Afgelopen week werden de geruchten omtrent de iTV aangewakkerd door de woorden van Tim Cook op de D10-conferentie. Cook zei tijdens een interview met enkele journalisten dat de Apple TV set-top box een hobby zal blijven, al joeg haar recente update (Apple TV kan nu 1080p afspelen, red) de verkoop wel fors de hoogte in. Op deze uitspraak liet de CEO van Apple veelbetekenend volgen dat Apple "van plan is deze kaart te blijven spelen, en te zien tot waar het ons leidt." Wordt ongetwijfeld vervolgd.
iTV: "de vraag is niet of, maar wanneer"
Toegevoegd op 1 juni 2012
Vandaag publiceerde analist Gene Munster van investeringsbank Piper Jaffray een bericht aan hun investeerders waarin te lezen stond dat Apple met zekerheid een HDTV zal lanceren. Tim Cook's D10 interview, Steve Jobs' biografie en andere geruchten wijzen volgens hem erop dat het televisietoestel van Apple een feit is. Enkel de precieze datum ontbreekt nog.
Munster vermoedt dat later dit jaar Apple de nieuwe iTV zal aankondigen. Net zoals de meeste Apple-producten zullen we deze HDTV zes maanden later terugvinden in de winkels.
De iTV zal verkrijgbaar worden in formaten variërend van 42-inch tot 55-inch. In lijn met eerdere geruchten beweert Gene Munster dat de iTV uitgerust zal worden met een aluminium achterkant en zal er een minimum aan kabels nodig zijn. Vanwege de hoge prijs van de OLED-schermen, zeker voor grotere schermformaten, zou Apple opteren voor de goedkopere LCD-technologie. Het prijskaartje zal zich situeren tussen de 1500 en 2000 dollar.
Omdat de iTV zich moet onderscheiden tegenover andere, al gevestigde televisieproducenten, zal Apple uitpakken met een ongeziene interface voor het nieuwe televisietoestel. Zo zullen we de nieuwe HDTV ook kunnen besturen via Siri, zal er een App Store worden ontwikkeld voor televisie-apps en zal Apple de compatibiliteit met andere producten tot een hoger niveau tillen.
Besturingssyteem iTV op WWDC
Toegevoegd op 30 mei 2012
Volgens een betrouwbare bron bij de site BGR zou Apple een nieuw besturingssysteem introduceren op de Worldwide Developers Conference. Het OS-systeem, de grotere broer van de iOS-besturing van de Apple TV, zou de nieuwe iTV moeten voorzien van de nodige software.

De nieuwe interface heeft als bedoeling zoveel mogelijk andere apparaten te kunnen aansturen. Zo zou de set-top box van je huidige televisieprovider bestuurd kunnen worden via de nieuwe HDTV van Apple. Om dit te kunnen realiseren, zou Apple al een tijdje in overleg zijn met andere fabrikanten. Via een API (application programming interface) is het mogelijk de iTV te laten fungeren als centrale bediening voor alle mediabestanden die voor handen zijn op alle media-apparaten in het huis. Denk bijvoorbeeld aan de muziekbibliotheken op je computer, de filmbibliotheek op je set-top box of de foto's op je externe harde schijf. Vreemd genoeg beweert de bron bij BGR wel dat het apparaat zelf, de iTV, niet gelanceerd zal worden op de WWDC.
Op 11 juni om 19.00u (Nederlandse tijd) start Apple's Worldwide Developers Conference te San Francisco. Wij volgen de nieuwe ontwikkelingen alvast op de voet!
Tim Cook over Apple's plannen op de televisiemarkt
Toegevoegd op 30 mei 2012
Op de D10-conferentie werd Tim Cook gisteren uitgenodigd om te spreken over de nieuwe ontwikkelingen van Apple. Hierbij kwam de toekomst van Apple op de televisiemarkt uitgebreid aan bod.
Allereerst werd de huidige situatie van de Apple TV toegelicht. De cijfers liegen er namelijk niet om: de Apple TV is zowat het minst succesvolle product dat Apple momenteel aanbiedt. Toch argumenteert Cook dat er een groeiend publiek is voor de set-top box. Terwijl Apple vorig jaar zo'n 2,8 miljoen Apple TV's verkocht, deed Apple er in de eerste zes maanden van 2012 reeds 2,7 miljoen van de hand. Daarom zou volgens de Apple-topman het Amerikaans elektronicabedrijf zich willen blijven verdiepen in het verbeteren van de service op de televisiemarkt.
Op de vraag of Apple op dit moment bezig is met de ontwikkeling van een eigen televisietoestel wou Tim Cook niet antwoorden.
[youtube]rLyVsT5SCdU[/youtube]
Eerste "Smart-TV's" in productie
Toegevoegd op 28 mei 2012
Naar verluidt is Apple reeds van start gegaan met de productie van enkele testexemplaren van de langverwachte televisiesets die het eind 2012 op de markt zou kunnen brengen. De productie hiervan zou plaatsvinden in Azië.
Het nieuws werd eerder vandaag bevestigd door "welgeplaatste bronnen", aan het China Business News. Volgens hen zou de testproductie doorgaan in één van de Foxconn-fabrieken in Shenzhen (China), waar wel meer prototypes van toekomende Apple-producten in kleine hoeveelheden van de band rollen.
Dit nieuwtje is op zijn zachtst gezegd merkwaardig, gezien de recente persuitlatingen van Foxconn-CEO Terry Gou. De bedrijfsleider gaf eerst aan dat diens bedrijf zich voorbereidde op de productie van een Apple-televisie, om enkele dagen later die woorden weer in te slikken.
Sinds de beruchte uitspraak van wijlen Jobs in zijn biografie (zie hierboven), is de "connected" televisieset van Apple al maandenlang lijdend voorwerp van wereldwijde speculatie.
"Troef van iTV zou draagbaarheid kunnen zijn"
Toegevoegd op 26 mei 2012
James McQuivey van het Amerikaanse marketingbedrijf Forrester heeft op zijn blog zijn licht laten schijnen over het fenomeen iTV. Wat McQuivey presenteert is in eerste instantie een heldere analyse van de Apple TV, om vervolgens te gissen naar de troeven van de televisie die Apple volgens sommige bronnen eind dit jaar nog op de markt zou brengen.
McQuivey stelt dat het uitblijven van de marktpenetratie van de televisiemarkt door Apple niet zozeer te wijten is aan de Amerikaanse elektronicagigant, maar eerder aan de markt zelf. Zo zijn op de eerste plaats de media-inhouden in handen van de diverse providers, die hun grip op de markt koste wat kost niet willen verliezen aan het bedrijf van wijlen Steve Jobs.
Mocht Apple die uitzendrechten dan al in handen krijgen, dan zal de introductie van een nieuw televisiedesign op zich vermoedelijk niet vernieuwend genoeg zijn voor de klant om deze de iTV ook te doen kopen. Als Apple trouw blijft aan haar bedrijfswaarden - lees: revolutionaire producten aan een bovengemiddelde prijs aan de man brengen - zal het dus met iets anders, iets verrassends uit de hoek moeten komen.
Verdergaan doet McQuivey met goede raad voor Apple, raad die hij naar eigen zeggen al meer dan een jaar achter gesloten deuren aan zijn cliënten verkondigt: "Apple zou de eerste non-TV TV moeten verkopen. In plaats van de consument te overtuigen een product te kopen dat een gelijkaardig product vervangt, zou Apple de miljoenen Apple-fans moeten overtuigen dat ze een nieuw scherm nodig hebben in hun leven. Noem het de 'iHub' (Hub betekent 'middelpunt', red.), een 32-inch scherm met bewegings-, spraak- en iPad-controle die aan de muur bevestigd kan worden op eender welke plaats waar het gezin samenkomt om te praten, te plannen of te eten. Als dan nog de app-ontwikkelaars overtuigd kunnen worden om producten te creëren die werkelijk als het middelpunt van het gezin fungeren - ik denk aan gedeelde kalenders, mogelijkheden om foto's en video's te bekijken, met FaceTime om te videochatten met oma -, dan zou de televisie van Apple een succes kunnen worden, en op lange termijn zelfs definitief de breedbeeldtelevisie van nu naar de vergeethoek kunnen verwijzen."

Ten slotte merkt de analist nog op dat zijn beeld van de 'iHub' alle troeven van Apple bevat: haar brede basis van supergeëngageerde klanten, haar groep hongerige ontwikkelaars, haar eigenschap om onze geesten open te stellen voor de mogelijkheden van het post-PC-tijdperk, en haar ongeëvenaarde kunst om ons dingen aan te leren waarvan we niet wisten dat we ze nodig hadden. James McQuivey rekent op een revolutie, en rekent daarvoor op Apple.
iTV zou uitgaven van Amerikaans gezin aan Apple-producten verdubbelen
Toegevoegd op 19 mei 2012
Gisteren publiceerde Katy Huberty en Morgan Stanley een rapport, gericht aan de investeerders van Apple, waarin het koopgedrag van een Amerikaans gezin ten opzichte van Apple-producten werd blootgelegd. Hieruit bleek dat de uitgaven nogmaals zouden verdubbelen, mocht Apple zich wagen op de televisiemarkt.
In 2007 gaf het gemiddeld Amerikaans gezin nog $150 uit per jaar uit aan Apple-producten. Toen de originele iPhone gelanceerd werd, zagen waarnemers al een verdubbeling van dit cijfer. In 2013 verwacht men dat het gemiddeld Amerikaans gezin, onder impuls van de iPad-hype, voor $635 zal spenderen aan Apple-producten.

Volgens Huberty zal ieder Amerikaans gezin dat over een jaarinkomen beschikt van minstens 10.000 dollar, voor $888 aankopen doen ten gunste van Apple. Wederom, een verdubbeling ten opzichte van 2011. En dit terwijl de niet-Amerikaanse bevolking "slechts" voor $113 uitgeeft aan Apple-artikelen. Indien ieder niet-Amerikaans gezin dat een jaarinkomen heeft van minimum 10.000 dollar, 36 procent meer zou uitgeven aan Apple-artikelen, zou in 2015 het Amerikaans gemiddelde bijgebeend worden.
Analist beweert dat iTV niet bestaat
Toegevoegd op 15 mei 2012
Tegenstrijdig met vele geruchten, publiceerde Pacific Crest analist Andy Hargreaves vandaag een tweetal argumenten tegen het vermoeden dat Apple een eigen HDTV zal lanceren. Ondanks Hargreaves waarschijnlijk op veel tegenstand kan rekenen, haalt hij toch een aantal goede punten aan.
Als eerste argumenteert de Pacific-Crest-analist dat Apple er niet in kan slagen content providers te voorzien voor de nieuwe iTV. Dit zou ook de reden zijn waarom de Google TV een niet erg succesvolle start kende. Waarom zou Apple niet de huidige Apple TV gewoonweg behouden indien het Amerikaanse elektronicabedrijf enkel wilt blijven samenwerken met internet streaming diensten zoals Netflix of Hulu?
Ten tweede zegt Andy Hargreaves dat Apple veel ruimte zal verliezen in hun bekende Apple Stores. Deze winkels staan momenteel op de eerste plaats in de top van de best verkopende shop per vierkante meter in de Verenigde Staten. Waarom zou Apple deze erg productieve verkoopruimtes willen opgeven voor 46-inch televisietoestellen?
Als laatste moeten we benadrukken dat het hele iTV-verhaal compleet gebaseerd is op geruchten. Geen enkele officiële instantie heeft ooit iets gepubliceerd over een aankomende televisie.
Bron: 9to5mac
Foxconn maakt zich klaar voor iTV [UPDATE]
Toegevoegd op 11 mei 2012
Volgens Terry Gou, hoofd van de omstreden Foxconn-fabrieken, maakt Foxconn zich klaar voor de productie van de nieuwe iTV. Dit zei de Taiwanese Gou tijdens zijn speech in het nieuwe hoofdkantoor van Foxconn in Shanghai.
Merkwaardig is dat Gou de naam "iTV" telkens weer gebruikte voor de nieuwe HDTV van Apple. Meerdere keren al werd deze benaming sterk betwist. Volgens analist Peter Misek van Jefferies & Company zou de naam "iPanel" veel beter bij het product passen, gezien Apple niet enkel mikt op een simpele televisie. Een andere reden waarom het nieuwe product niet "iTV" genoemd zou kunnen worden, wordt veroorzaakt door het feit dat de intellectuele rechten van de naam "iTV" bij het gelijknamige Britse televisienetwerk liggen.

Eerder dit jaar raakte bekend dat Foxconn voor 600 miljoen investeerde in de lcd-fabricage van het Japanse bedrijf Sharp. Daarnaast zou Foxconn's moederbedrijf Hon Hai nog eens 1,3 miljard dollar vrijmaken voor de aankoop van nieuwe apparatuur. Vandaar ging het vermoeden dat Sharp de televisieschermen voor de HDTV zou leveren. Dit werd vandaag bevestigd door de Foxconn-topman. De kans is groot dat de iTV zal uitgerust worden met Sharp's nieuwste IGZO-technologie (Indium Gallium Zinc Oxide). Hierdoor zouden televisieschermen voortaan dunner kunnen worden en beschikken over een hogere resolutie. Deze combinatie zou bovendien resulteren in een sterk verminderd stroomverbruik.
De geruchten dat de iTV zal bestaan uit een aluminium constructie met de Apple-features Siri en FaceTime aan boord, werden niet bevestigd door Terry Gou.
Bron: China Dialy
[UPDATE]
Toegevoegd op 14 mei 2012
Foxconn-oprichter Terry Gou maakte vandaag officieel bekend geen woord gelost te hebben over een nieuwe HDTV, geproduceerd door Apple. Hoewel zelfs het Engelstalige China Daily Gou letterlijk citeerde, stuurt Foxconn nu een bericht de wereld in dat hun beleid nooit uitleg geeft over aankomende producten.
Gisteren berichtte de wisselend betrouwbare site Digitimes nog dat Apple interesse heeft in de overname van Loewe. Ook dit bericht werd vandaag officieel ontkend.
Software-update voor Apple TV (5.0.1)
Toegevoegd op 11 mei 2012
Gisterenavond heeft Apple een update op de markt gebracht voor de software van de tweede en derde generatie Apple TV's. Vanaf nu kan je de previews van films en TV-shows ook in HD bekijken via de set-top box. Daarnaast draait de update hoofdzakelijk rond bug fixes.
Zo werden heel wat aanpassingen gedaan aan AirPlay opdat alle apps vanaf nu zonder problemen zouden samenwerken met de Apple TV. Apple maakte tevens de software van de Apple TV meer betrouwbaar voor thuisdeling. Ook zouden de login- en adresproblemen met Netflix in de toekomst onbestaande zijn. Apple sleutelde aan het algemene functioneren van de gehele software. Bijgevolg zullen gebruikers voortaan van een meer stabiele en betrouwbare Apple TV kunnen genieten .
Om de update te installeren, moet je via instellingen op de categorie 'algemeen' klikken. Onder deze categorie kan je de optie 'software-update' vinden. Dit is de enige manier om de Apple TV te updaten.
iTV zal Siri en iSight hebben
Toegevoegd op 7 mei 2012
Volgens Cult of Mac zal de nieuwe iTV lijken op de huidige Thunderbolt of Cinema Display , maar dan veel groter. Zij beweren informatie ontvangen te hebben van een insider, die een prototype van de iTV heeft kunnen zien.
Opvallend aan het prototype was de iSight-camera (bestuurd via Siri), die gebruikers in staat stelt FaceTime-videogesprekken te voeren. Hierdoor kan de gebruiker op om het even welke plaats in de kamer zitten om een videogesprek te voeren, want de camera zal automatisch gezichten herkennen en hierop inzoomen. Zelfs al lopend praten zonder dat de camera je uit het oog verliest zou zo mogelijk worden. Kortom, we zullen niet voor de televisie hoeven te staan om te videochatten, we kunnen ook simpelweg op de sofa blijven zitten tijdens het gesprek.
Daarnaast zou de nieuwe televisie Siri ondersteunen, waardoor hij volledig of gedeeltelijk met de stem bediend kan worden.
TV-analist Paul Gagnon voegde daar op dezelfde website nog het volgende aan toe: "We hebben geen harde informatie, maar verwachten dat Apple op het einde van het jaar een lijn televisies introduceert." Afgaande op recente investeringen van Apple's Chinese leverancier Foxconn lijkt dit zeker niet onmogelijk, maar dit wil wel zeggen dat de iTV behoorlijk conventioneel zal zijn op gebied van hardware.
Er doen reeds langer geruchten de ronde over een Apple-televisie, waarbij tegenstrijdige berichtgeving legio is. Er werd de afgelopen maanden al gewag gemaakt van een iTV die dit jaar nog, in 2013, of zelfs pas in 2014 het daglicht zou zien.
Vorige generatie Apple TV's tweedehands duurder dan nieuwe generatie
Toegevoegd op 5 mei 2012
Hoewel de tweede generatie Apple TV's voor evenveel over de toonbank ging als de huidige generatie, worden tweedehands Apple TV's 720p momenteel voor meer dan de nieuwprijs verkocht op sites zoals Amazon en Buy.com. Voorlopig zijn jailbreak programma's als XBMC enkel beschikbaar voor de tweede generatie. Dat is waarschijnlijk de reden voor de grote belangstelling voor de oudere Apple TV's. Op Amazon werd eerder al een Apple TV van de tweede generatie voor 178 dollar verkocht. Buy.com biedt op dit moment een Apple TV 2G aan voor 167 dollar.
Via het jailbreak programma XBMC is het mogelijk om meer videoformaten af te spelen dan initieel de bedoeling is. Omdat er maar een gering aantal Apple TV's 2G worden aangeboden en Apple alle vorige generaties uit de rekken heeft gehaald, stijgt de exclusiviteit en bijgevolg de prijs.
Firecore liet al weten dat er hard gewerkt wordt aan een jailbreak voor de nieuwe generatie Apple TV's.
Bron: 9to5Mac
iTV pas voor 2014?
Toegevoegd op 3 mei 2012
Mark Moskowitz, analist bij de Amerikaanse bank J.P. Morgan, denkt dat we nog tot 2014 zullen moeten wachten op een door Apple ontworpen televisie. Moskowitz' bevindingen werden vanmorgen gepubliceerd door de site AppleInsider.
De specialist inzake Apple-onderzoek m.b.t. de iTV vermoedt wel dat Apple eerst nog een nieuwe versie van de Apple TV zal lanceren, één die al enkele elementen van de iTV zal bevatten. Dit opdat de consument alvast zou kunnen wennen aan besturing via spraak (Siri)- of bewegingstechnologie.
Moskowitz denkt dat de economische recessie waarin de tv-industrie verkeert, te zwaar zal doorwegen bij de Apple-tenoren om nu al hun nieuw product op de markt te brengen. Een eerste iTV zou in eerste instantie vooral moeten uitblinken op vlak van design, gebruiksvriendelijkheid en grafische resolutie. Omdat men bij Apple vreest dat de consument nog niet klaar is om weg te stappen van de traditionele kabeltelevisie, zou Apple pas na verloop van tijd baanbrekende updates aanbieden.

Phil Cusick, eveneens werkzaam als analist bij J.P. Morgan, vulde later vandaag aan op dezelfde website: hij is van mening dat Apple op dit moment geen rol van betekenis kan spelen op de televisiemarkt, gezien het nog geen overeenkomsten heeft met content providers.
Amerikanen en Britten kijken uit naar nieuwe iTV
Toegevoegd op 24 april 2012
Eerder al bleek uit studies van KAE en Toluna dat zo'n 25 procent van de Amerikanen de aankoop van een televisietoestel van Apple overweegt indien deze op de markt gebracht zou worden. Uit nieuw onderzoek werd aangetoond dat de Britten nog meer interesse vertonen voor de aankomende iTV. 30 procent van de ondervraagde Britten gaf namelijk aan dat ze de aanschaf zouden overwegen.
Daarnaast wordt er in de onderzoeken een significante positieve relatie waargenomen tussen het bezit van een ander Apple-apparaat en de interesse in de iTV. 43 procent van de Britse Apple-gebruikers en 38 procent van de Amerikaanse Apple-gebruikers zou de aankoop van de nieuwe televisie overwegen. 38 procent van de Britten met een Sony-TV, 36 procent van de Samsung-televisiebezitters en 31 procent van de LG-bezitters zou zijn huidig toestel inruilen voor een nieuwe televisie van Apple.
Hoewel Apple nog geen officiële aankondiging over de nieuwe iTV de wereld heeft ingestuurd, gaan er toch hardnekkige geruchten dat Apple eind 2012 een nieuwe speler zal zijn op de televisiemarkt.
Gaat Frans designer Starck iTV ontwerpen? [UPDATE]
Toegevoegd op 14 april 2012
De gereputeerde Franse ontwerper Philippe Starck heeft in een radio-interview met France Info onthuld dat hij met Apple werkt aan een naar eigen zeggen revolutionair nieuw product, dat over een achttal maanden in de schappen zou moeten liggen. Dit schrijft Hardmac op haar website.
In de geest van de traditionele geheimdoenerij van het Amerikaanse elektronicabedrijf weigerde Starck verder uit te weiden over het project. Het spreekt echter voor zich dat dit wijst op de betrokkenheid van Starck bij de compleet vernieuwende Apple-televisie, die op het eind van dit jaar het daglicht zou moeten zien. Dit wordt nog eens benadrukt door zijn omschrijving van het product als "revolutionair". In zijn biografie nam Steve Jobs exact dezelfde woorden in de mond om Apple's televisieset te beschrijven (zie hierboven).

Starck staat te boek als een allround designer, met producten van tandenborstels over motorfietsen tot zelfs windmolens. Starck heeft nog geen eerdere formele samenwerking met Apple aangegaan, al heeft hij in het verleden wel al speakers voor de iPod en de iPhone ontworpen.
[UPDATE]
Gisteren maakte de Fransman Starck bekend dat hij voor zijn "revolutionair product" zal samenwerken met de familie Jobs en niet met Apple. Geruchten doen de ronde dat Starck een speciale boot gaat ontwerpen voor de familie Jobs. In een interview met het Franse persbureau AFP zei Philippe Starck:
"Het project werd oorspronkelijk opgestart met Steve Jobs. Het zal worden afgewerkt met de weduwe van Steve Jobs, Laurene Jobs. Het is een privé-initiatief en voorlopig wens ik geen details bekend te maken".
Ook in Steve Jobs zijn biografie vermeldt Walter Isaacson dat Jobs plannen had om een eigen boot te ontwerpen. Hoewel Jobs vreesde dat hij het resultaat nooit te zien zou krijgen vanwege zijn ziekte, zette hij toch door. De boot zou een strak en minimalistisch design hebben en geconstrueerd worden door Feadship.
Nieuwe Apple TV is testcase voor Samsung-chip
Toegevoegd op 13 april 2012
Volgens Chipworks zijn de nieuwe Apple TV en de iPad 2 platforms voor het testen van een nieuwe chip (de Samsung 32nm High-K + Metal Gate), die in de toekomst onder meer op de iPhone gebruikt zou kunnen worden.
Op basis van deze gegevens lijkt het voor de hand liggend dat Apple de Samsung-chip uittest en mogelijke bugs tracht weg te filteren, alvorens deze integraal over te dragen naar de andere Apple-technologie.
Apple zal overschakelen van een 45nm LP CMOS (bekend van de iPhone 4S en de iPad 2 van vorig jaar) naar een nieuwere, meer efficiënte 32nm-node. Om de overstap vlotter te doen verlopen wordt er getest met non-complexe, kleine nodes zoals deze in de nieuwe Apple TV.

Omdat het product Apple TV aanzienlijk minder verkoopt dan de iPhone of de iPad is Apple TV een ideaal testplatform. Moesten er fouten opduiken in de chips, kunnen ontevreden klanten deze altijd inruilen voor de oude, betrouwbare 45nm-chips.
De nieuwe chip zou de Apple-producten efficiënter laten werken, waarmee hoofdzakelijk bedoeld wordt dat complexe bewerkingen kunnen worden uitgevoerd zonder al te veel batterijduur te moeten opofferen.
iTV of iPanel?
Toegevoegd op 5 april 2012
Er doen geruchten de ronde dat de nieuwe televisiedienst van Apple wel eens "iPanel" genoemd zou kunnen worden in plaats van "iTV". Volgens analist Peter Misek van Jefferies & Company zou de naam "iPanel" alvast veel beter bij het product passen, gezien Apple niet enkel mikt op een simpele televisie.
"Het moet een display worden, een gamecenter, een mediahub, een computer.." zegt Misek op AppleInsider.com. In die zin zou de naam "iTV" dus veel te beperkt zijn. Een andere reden waarom het nieuwe product niet "iTV" genoemd zou worden, wordt veroorzaakt door het feit dat de intellectuele rechten van de naam "iTV" bij het gelijknamige Britse televisienetwerk liggen.
Verder in hetzelfde artikel orakelt Misek over de toekomst van het product. Hij gelooft dat de "iPanel" de deur uit zal gaan voor een gemiddelde prijs van 1.250 dollar en voorziet grootse toekomstplannen van Apple aangaande de nieuwe televisiedienst. Dit vermoeden baseert hij op drie factoren: ten eerste denkt hij dat de nieuwe overeenkomst tussen Foxconn en Sharp, beide traditionele leveranciers van Apple, een teken aan de wand is dat de twee bedrijven de productie van Apple's nieuwe paradepaardje niet willen missen. Op de tweede plaats zijn er vanuit Azië een niet gering aantal meldingen binnengekomen dat Apple reeds onderdelen voor haar Apple-TV in kleine hoeveelheden heeft besteld.
Ten slotte zou een analyse van bouwvergunningen en satellietbeelden uit de regio van North-Carolina, waar Apple een datacenter heeft, uitwijzen dat Apple ook een structurele uitbreiding plant - hoogstwaarschijnlijk dus om daar de nieuwe Apple TV te vervaardigen. Als profeet Misek gelijk krijgt, zou het product in het laatste kwartaal van 2012 op de markt komen.
Nieuwe Apple iTV in 2013
Toegevoegd op 29 maart 2012
Volgens een rapport van het Aziatische onderzoeksbureau CLSA zal Apple pas in 2013 met een eigen televisie op de proppen komen. Dit heeft alles te maken met de investering van Foxconn in Sharp, het Japanse electronicabedrijf. Hiermee worden hardnekkige geruchten die beweerden dat Apple's televisie eind dit jaar in de winkels zal liggen, weerlegd.
Eerder deze week raakte bekend dat Foxconn-oprichter Terry Gou voor 600 miljoen investeerde in de lcd-fabricage van het Japanse bedrijf Sharp. Daarnaast zou Foxconn's moederbedrijf Hon Hai nog eens voor 1,3 miljard dollar beleggen in de aankoop van nieuwe apparatuur. Aangezien Sharp al meerdere keren passeerde als mogelijke leverancier voor televisieschermen bij Apple, is er dus een grote kans dat zij de eer hebben om onderdelen te leveren voor de eerste televisie die geproduceerd zal worden door Apple.
Eind vorig jaar stelde Digitimes nog dat Apple de nieuwe iTV in het derde kwartaal van 2012 zou lanceren. Daarna beweerde Peter Misek, analist bij Jefferies & Company, dat het televisietoestel pas eind dit jaar op de markt verschijnt. Ondanks er duidelijk nog veel onzekerheid bestaat over de juiste releasedatum, wordt het vermoeden dat Apple een nieuwe speler op de televisiemarkt zal worden met de dag groter.
"Nieuwe interface Apple TV 5 jaar geleden door Steve Jobs afgewezen"
Toegevoegd op 25 maart 2012
Macgasm.net bracht verslag uit van een tweet van Michael Margolis, een ex-ingenieur werkzaam voor Apple TV, waarin deze laatste zegt dat de nieuwe interface van Apple TV reeds in 2007 op tafel lag. Wat meer is, is echter dat Steve Jobs de interface resoluut onder tafel veegde. Bovendien voegt Margolis aan bovenstaande statements toe dat er nu blijkbaar niemand meer bij Apple is die slechte designs durft af te keuren, waarmee hij dus duidelijk zijn afkeer voor het huidige design aangeeft.

Bij de introductie van de nieuwe Apple TV op het jongste Apple-event werd de nieuwe interface, inclusief grote, iconische knoppen en met billboard-achtige stijl, wereldkundig gemaakt. Ook de eigenaars van de vorige (2e generatie) Apple TV kregen via een update toegang tot de vernieuwde interface.
Voetnoot bij deze historie is wel dat de wereld van Apple er vijf jaar geleden nog ietwat anders uitzag. Margolis licht dit toe op TheNextWeb: "Ik denk niet dat de vernieuwde interface voor iemand een verrassing geweest is. Gezien het recente succes van de iPad lijkt het me geen domme beslissing van Apple om de minder goed verkopende Apple TV er meer te laten uitzien als de iPad.Hij (Steve Jobs) hield niet van de originele interface, maar die uitspraak deed hij wel vòòr de iPhone populair werd, en voor de iPad zelfs maar bestond."
Nieuwe Apple TV met meer werkgeheugen
Toegevoegd op 20 maart 2012
Hoewel de nieuwe Apple TV's ten vroegste 23 maart over de toonbanken gaan, hebben wij reeds details over de interne vernieuwingen van Apple's nieuwe set-top box. Naast de gekende specificaties zoals de 1080p-resolutie, de A5-chip en de nieuwe interface, heeft de nieuwe Apple TV, volgens het XBMC-forum, 512MB werkgeheugen.
Hiermee kent de nieuwe set-top box een verdubbeling van het werkgeheugen. Daar waar de vorige Apple TV met slechts 256MB werkgeheugen kon draaien, werkt de nieuwere versie met 512MB. Dit is waarschijnlijk het resultaat van de overgang van 720p naar 1080p. De teller van het flash-geheugen blijft op 8GB staan. Meer is niet nodig, aangezien men geen bestanden of nieuwe apps op de set-top box kan opslaan.
Daarnaast zal de Apple TV voortaan door het leven gaan met een A5 chip. Eerder al werd gesuggereerd dat het om dezelfde dual-core A5 chip zou gaan die we ook kunnen terugvinden in de iPhone 4S en de iPad 2. Toch blijkt de Apple te kiezen voor een single-core A5 chip die we ook al kennen van de iPhone 4 en de eerste iPad. De reden waarom Apple de nieuwe televisiebox niet uitrust met een nieuwere dual-core chip, is gewoonweg omdat de Apple TV niet meer rekenvermogen nodig heeft.
In de doo



