Universele oplader voor MacBooks, iPads en iPhones op komst

Apple werkt aan een universele oplader die overweg kan met verschillende voltages. Met de adapter kan je bijvoorbeeld je MacBook Pro, iPad en iPhone gelijktijdig opladen.
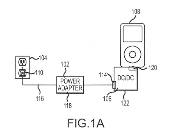
Dit blijkt uit een patentaanvraag van Apple. De oplader wordt in de patentaanvraag een 'Multi-Output Power Supply' genoemd. Apple schrijft dat adapters die op dit moment op de markt verkrijgbaar zijn niet in staat zijn meerdere outputs te leveren met verschillende voltages. Vandaar dat je op dit moment op reis vaak meerdere opladers mee moet nemen voor bijvoorbeeld je telefoon en laptop.
In de patentaanvraag beschrijft Apple een adapter dieis voorzien van een gelijkstroom-naar-gelijkstroom converter, waardoor het mogelijk is de verschillende voltages te genereren die apparaten vereisen. De adapter zou zelf in staat zijn te bepalen welk voltage een apparaat nodig heeft, zodat je zelf niets hoeft in te stellen.
Apple noemt in de patentaanvraag niet alleen iPods, iPhones en iPads, maar verwijst ook specifiek naar de MagSafe-technologie die wordt gebruikt in de opladers van de MacBook-reeks. Dit zou betekenen dat de universele adapter met zowel de MacBook-reeks als iOS-apparaten overweg kan.

Bron: AppleInsider



