Alle geruchten over de iPhone 7

Wanneer komt de iPhone 7 uit en wat voor nieuwe functies en veranderingen in het ontwerp van de volgende iPhone kunnen we verwachten? Hier bespreken we alle geruchten over de releasedatum, aanwijzingen over nieuwe functies en tonen we een aantal prachtige nieuwe conceptafbeeldingen van de iPhone 7.
Hier is alles wat we weten (of kunnen raden) over Apple's iPhone 7. We zullen in 2015 ongetwijfeld een nieuwe generatie iPhone zien verschijnen. Maar zal hij überhaupt de iPhone 7 worden genoemd - zou het niet de iPhone 6s moeten zijn? Lees ook: iPhone 6 - Is de beste iPhone ook de beste smartphone?
Het apparaat is nu al een hot topic, ook al zijn de iPhone 6 en iPhone 6 Plus pas een halfjaar geleden verschenen. Misschien ben je wel verrast door de enorme speculaties die er nu al zijn rondom de iPhone 7.
Geruchten: Wat is de iPhone 7?
Mijn excuses als dat voor de hand liggend lijkt, maar het is niet zo'n simpele vraag als het lijkt. De iPhone 7 is niet de zevende iPhone (de iPhone 6 en 6 Plus waren de negende en tiende, dus de nummering klopt allang niet meer), maar voor de handigheid is dat de naam die we hier gebruiken voor Apple's volgende iPhone-release met een groot scherm (phablet-formaat).
Momenteel verkoopt Apple iPhones in drie formaten: met een scherm van 4 inch (de iPhone 5c en iPhone 5s), met een scherm van 4.7 inch (de iPhone 6) en met een scherm van 5.5 inch (de iPhone 6 Plus). We gaan ervan uit dat Apple tenminste één nieuw model in alle drie de formaten zal maken, en vooralsnog kiezen we ervoor om deze theoretische apparaten de iPhone 6c, iPhone 6s en iPhone 7 te noemen.

(Een anonieme bron in Apple's productieketen beweerde onlangs echter dat het bedrijf momenteel geen plannen heeft voor het maken van een nieuwe iPhone met een scherm van 4 inch. Wij zijn hier niet zeker over, en het zou volgens ons een vergissing van Apple zijn).
Geruchten: De naam
Voordat we overgaan op de specificaties en andere technische details, is de naam van de nieuwe iPhone één van de eerste dingen die we willen bespreken. Als Apple aan haar traditionele naamgeving vasthoudt, is het waarschijnlijk dat de iPhone van 2015 de iPhone 6s zal heten in plaats van de iPhone 7. (Deze zou gepaard kunnen gaan met een goedkopere iPhone 6c.)
Maar er wordt al jaren gezegd dat Apple overweegt om de 's' in de naamgeving te laten vallen (net als de recentere 'c'), omdat het de laatste tijd als negatief wordt beschouwd. Het lijkt er namelijk op alsof het niet een geheel nieuw apparaat is, maar eerder een opstapje naar de volgende iPhone.
Natuurlijk weten we pas hoe de volgende iPhone gaat heten wanneer Apple de naam bevestigt.
Een andere optie die aangedragen is door enthousiaste Apple-fans, is dat de iPhone 7 de iPhone Air zal gaan heten, naar het voorbeeld van de MacBook Air- en iPad Air-lijnen. Maar wij vinden dat idee een beetje te ver gaan.
Geruchten: Lanceerdatum
Als Apple zich aan haar tradities vasthoudt, mogen we verwachten dat de iPhone 7 midden september 2015 zal arriveren. De iPhone 6 en iPhone 6 Plus werden op 9 september 2014 onthuld (en op 19 september uitgebracht); de iPhone 5c en iPhone 5s werden op 10 september 2013 onthuld; de iPhone 5 werd op 12 september 2012 onthuld. Er is een duidelijk patroon te herkennen.

Maar het is mogelijk - en er is veel over gespeculeerd - dat Apple twee keer per jaar nieuwe iPhones zal gaan uitbrengen om bij te blijven met de steeds groeiende en steeds betere concurrentie. Dit zou betekenen dat er in de lente van 2015 een lanceerevenement zal plaatsvinden, gevolgd door een ander evenement in de herfst.
In dat geval zouden we in elke update minder drastische verbeteringen kunnen verwachten: misschien een nieuwe 's'-klasse in de lente, gevolgd door de volledige iPhone 7 in de herfst. Of misschien kiest Apple ervoor om in de ene set aankondigingen haar 4 inch-smartphones te updaten, en in de andere haar grotere telefoons.
Een andere techsite zegt een bron te hebben in de productieketen die dit alles bevestigt - er wordt beweerd dat, hoewel de iPhone 7 tot september moet wachten, de iPhone 6s in de lente gelanceerd zal worden.
Het is een interessante theorie, maar wij denken zelf dat het voor de volgende reeks iPhones een lancering in september gaat worden.
Specificaties: Schermgrootte
De belangrijkste vraag is hoe groot het scherm van de iPhone 7 zal zijn. Er is een aantal verschillende theorieën.
Van de drie schermformaten die Apple momenteel verkoopt lijkt de iPhone 6 van 4,7 inch de favoriet te zijn. De iPhone 6 Plus en zijn 5.5-inch scherm lijkt voor veel mensen te groot, en voor nog meer mensen lijkt de iPhone 5s van 4 inch te klein en te ouderwets. 4.7 inch lijkt voor de gemiddelde Apple-fan de gulden middenweg te zijn.
Maar het lijkt onwaarschijnlijk dat Apple haar andere schermformaten zomaar zal opgeven. Om te beginnen zijn er zeker smartphonegebruikers die graag een kleiner apparaat willen: mensen met kleine handen, mensen die een smartphone liever met één hand willen bedienen en mensen die niet van veranderingen houden.
Het kan dat Apple deze markt zoet wil houden door haar 4 inch line-up te updaten. En hoewel de iPhone 6 Plus consequent minder goed verkoopt dan de iPhone 6, is de verkoop ervan toch geen ramp geweest - en het is voor Apple een belangrijk product wat betreft prestige en het verwerven van een positie op nieuwe markten.

Voor het gemak voorspellen we in het komende jaar dan ook drie nieuwe iPhones van Apple. Een update van de iPhone 5s met een 4 inch-scherm, die we de iPhone 6c zullen noemen, een 4.7 inch-update van de iPhone 6, die we de iPhone 6s zullen noemen, en een nieuwe phablet, gebaseerd op de iPhone 6 Plus, met een scherm van 5.5 inch. Deze laatste update noemen we de iPhone 7, en deze zal de focus zijn van dit artikel.
Specificaties: 3D-scherm
De iPhone 7 zou een 3D-scherm kunnen hebben, Economic Daily News, die beweert dat Apple's productieketenpartner TPK momenteel werkt aan een project dat te maken heeft met een "naked eye 3D screen" - met andere woorden, een 3D-scherm waarvoor je geen bril nodig hebt.
Specificaties: Camera
Wat de camera van de iPhone 7 betreft suggereren de meest recente rapporten dan het een significante verbetering zou kunnen zijn ten opzichte van de camera in de iPhone 6 en iPhone 6 Plus. Het zou zelfs de grootste sprong in camerakwaliteit in de geschiedenis van de iPhone kunnen zijn.

John Gruber van Daring Fireball zei onlangs in een podcast op zijn blog dat een bron beweert dat de camera van de iPhone 7 een twee-lenzensysteem waarmee gebruikers "beelden van DSLR-kwaliteit" kunnen vastleggen.
Het twee-lenzenontwerp heeft een aantal voordelen ten opzichte van de huidige (weliswaar hoog aangeprezen) iPhone-camera, waaronder de optie om een optische zoom toe te voegen. Er wordt ook gesuggereerd dat toekomstige iPhone-camera's beter zullen presteren in omstandigheden met weinig licht.
Voor een echt voorbeeld van de technologie kun je kijken naar de HTC One M8, die al een naar achteren gerichte camera heeft die gebruik maakt van een twee-lenzensysteem.
Specificaties: Processor
Samsung wordt al genoemd als de leverancier van Apple's A9-processor voor haar volgende generatie smartphones. Men verwacht dat de processoren geproduceerd zullen worden door middel van een 14 nanometer-ontwerp. De nieuwe chips zullen naar verwachting kleiner, efficiënter, en natuurlijk krachtiger zijn.
De huidige A8-chip maakt gebruik van een 20 nanometer-proces, en het grootste deel wordt geproduceerd door TSMC (Taiwan Semiconductor Manufacturing Company). Analisten rapporteren al enige tijd dat Samsung weer de enige producent van Apple's chips wil worden, en dat het bedrijf concurrerende prijzen heeft aangeboden om Apple te overtuigen om een akkoord te sluiten. Volgens Inquirer is Samsung daar (althans gedeeltelijk) in geslaagd.
De site, die haar claims baseert op bronnen die op een nieuwspagina in het Koreaans geciteerd worden, stelt dat Samsung driekwart van de A9-chips die in de iPhone 7 gebruikt worden, zal produceren. Wij geloven echter nog altijd dat Apple de A9-chip zelf zal ontwerpen, net als in het verleden met de processorchips uit de A-klasse.
Specificaties: Meer RAM
AppleInsider citeert 'een persoon die bekend is met Apple's productplannen voor de toekomst' die beweert dat Apple op het punt staat om voor het eerst in drie jaar de hoeveelheid RAM in de iPhone-lijn te verhogen: van 1GB naar 2GB in de iPhone 7.
Afgezien van de anonieme bron zou de timing van deze zet logisch zijn, zoals AppleInsider opmerkt: de laatste keer dat Apple de RAM in de iPhone verhoogde, kwam één cyclus nadat het bedrijf hetzelfde gedaan had met haar iPad-lijn, en de iPad Air 2 heeft afgelopen oktober een extra gigabyte aan RAM gekregen.
Specificaties: Batterijduur
De batterijduur van een smartphone is één van de dingen die iedereen belangrijk vindt, en Apple zal opnieuw veel verzoeken krijgen voor een verbeterde batterijduur in de iPhone 7 - maar je vraagt je af in welke mate de gemiddelde Apple-fan bereid is om in ruil daarvoor een compromis te sluiten. Wat als de iPhone 7 twee keer zo zwaar of veel duurder zou worden om een geweldige batterijduur mogelijk te kunnen maken? Wat als het scherm minder goed zou zijn of de processor minder krachtig zou zijn?
Jony Ive heeft de batterijduur onlangs kort besproken in een interview met de Financial Times voor de bijlage 'How to spend it', en hij gaf vrij zware hints dat Apple de batterijduur niet belangrijk genoeg vindt om op andere gebieden concessies te doen.
'Als we het over prestaties hebben, en er wordt gesproken over het probleem waarbij de iPhone regelmatig opnieuw moet worden opgeladen, antwoordt Ive dat dit komt doordat het apparaat zo licht en dun is dat we het enorm veel gebruiken waardoor de batterij gauw leegloopt. Met een grotere batterij zou het apparaat zwaarder, omslachtiger, en minder 'aanlokkelijk' zijn.'
Het is mogelijk dat we een kleine verbetering van de batterijduur zullen zien, net als met de iPhone 6 en iPhone 6 Plus. Maar die vooruitgang was haalbaar omdat die apparaten een grotere behuizing hadden, en daardoor een grotere batterij konden bevatten. En het lijkt er niet op dat Apple draagbaarheid zal opofferen om de iPhone 7 een significant langere batterijduur te geven.
Nieuwe functies: Voorgeïnstalleerde 'Apple SIM'
Dezelfde bron die AppleInsider vertelde over de toename in RAM, denkt ook dat het waarschijnlijk is dat de iPhone 7 met een voorgeïnstalleerde Apple SIM geleverd zal worden.
'Met de Apple SIM, die ook zijn debuut gemaakt heeft in de iPad Air 2, kunnen consumenten direct vanuit de Settings-app een mobiel dataplan afsluiten met een deelnemende aanbieder, zonder een langlopend contract. Bovendien kun je op ieder moment van aanbieder wisselen,' aldus de site.
Nieuwe functies: Joystick-thuisknop
Het nieuwste gerucht is nogal vergezocht, en we weten niet of het realistisch is om te verwachten dat dit op korte termijn op een Apple-apparaat zal verschijnen. Maar het is zeker een interessant idee.
Het concept is als volgt: de thuisknop op de iPhone 7 zou omhoog kunnen springen door middel van een veertje en zou zo kunnen dienen als een soort joystick om spelletjes mee te spelen. Er zijn veel iOS-spellen die baat zouden hebben bij een hardware-controller.
Maar gamers blijven slechts één deel van het iPhone-publiek, en het lijkt een riskant idee om mogelijk afbreuk te doen aan de weerbaarheid van ieders thuisknop (die zoals bekend in het verleden erg gemakkelijk kapot ging) voor een functie waar slechts een aantal gebruikers van profiteren.
Een gek idee waarvan we niet overtuigd zijn dus - maar een idee dat wel onderbouwd wordt door een patent van Apple: application 20150015475, oorspronkelijk aangevraagd op 9 juli 2013, maar pas op 15 januari 2015 door de US Patent Office gepubliceerd. Dus iemand in Cupertino denkt dat het de moeite waard is om aandacht aan het idee te schenken.

Bedenk echter wel dat Apple vaak ideeën patenteert die het bedrijf uiteindelijk niet zal gebruiken - om zich in te dekken voor het geval de plannen veranderd worden, om patent trolling te voorkomen, en misschien zelfs om rivalen op het verkeerde spoor te brengen.
Nieuwe functies: Force Technology
Force Technology is de aanraakgevoelige technologie die Apple al in de Apple Watch en de nieuwe MacBook gebruikt, en waarmee het apparaat onderscheid kan maken tussen een tik en een druk. (Dit is belangrijk gezien de beperkte afmetingen van het scherm van de Apple Watch - de extra gebaren die de technologie mogelijk maakt zijn van vitaal belang voor de gebruikerservaring.)
Dit doet vermoeden dat dit ook gebruikt zou kunnen worden op de volgende generatie iPhones. Net als op de Apple Watch zal dit een weg banen voor een verfijndere en bredere reeks gebaren en geavanceerdere interacties, maar de argumenten om het in de iPhone te implementeren zijn minder overtuigend.
Nieuwe functies: Draadloos opladen
Het is een eeuwigdurend gerucht over aankomende Apple-apparaten, maar deze keer zou draadloos opladen weleens een realiteit kunnen zijn: het zat niet op de iPhone 6 zoals sommige mensen hadden voorspeld, maar het werd wel op de Apple Watch geïntroduceerd als inductief opladen.
Draadloos opladen klinkt geweldig, maar op dit moment heeft inductief opladen een zeer kort bereik; dus je zou niet achter je bureau kunnen zitten terwijl je iPhone (in je zak) wordt opgeladen vanaf de plug die zich een paar meter verder bevindt. In plaats daarvan zou je het apparaat op een bedrade mat moeten leggen. Handig, maar niet zo futuristisch als het misschien in eerste instantie klonk toen we het over 'draadloos opladen' hadden.
De artiest Yasser Farahi, wiens werk verderop te zien is in het gedeelte over afbeeldingen en video's, heeft een aantal advertenties voor deze functie verzonnen.

Nieuwe functies: Nieuwe oplader
In augustus 2014 doken er geruchten op over een nieuwe iPhone-oplader, wat suggereerde dat het usb-gedeelte van de oplader omkeerbaar zou kunnen zijn, net als de Lightning connector.
Er verscheen eerder in 2014 een video op het web van iets wat vermoedelijk een nieuwe iPhone-oplader is, met een geheel omkeerbare USB Lightning-kabel. Het laat zien dat de usb op beide manieren in de adapter geplugd wordt, op dezelfde manier als dat een Lightning connector omkeerbaar is.
Nieuwe functies: iOS 9
iOS 9 zal waarschijnlijk op software niveau ook nieuwe functies introduceren. Functies die we onder andere graag zouden zien in iOS 9: verbeterd ouderlijk toezicht, FaceTime-groepsgesprekken en multitasking op een splitscreen.
Nieuwe functies: Apple-patenten
Als we beter naar de Apple's portfolio van patenten kijken, kunnen we een aantal andere iPhone 7 functies ontdekken die mogelijk voor 2015 gepland staan. Gezichtsherkenning zou gebruikt kunnen worden om het apparaat te ontgrendelen, of het volledige scherm van de iPhone 7 zou een Touch ID-vingerafdruksensor kunnen zijn, waardoor de thuisknop niet meer nodig is en er meer ruimte over is voor een groter scherm.
Nieuwe functies: Ontwerp
Wat je niet van de iPhone 7 hoeft te verwachten, is een ontwerp dat enorm afwijkt van dat van de iPhone 6. Apple gebruikt doorgaans voor twee generaties van de telefoon hetzelfde ontwerp, dus het kleinere, lichtere en rondere ontwerp van de iPhone 6 zal naar verwachting ook op de iPhone 7 te zien zijn.

Maar als Apple toch besluit om voor de iPhone 7 een nieuw ontwerp te kiezen, denken we dat het apparaat best weleens dikker zou kunnen zijn dan de iPhone 6, met wat Apple "sidewall displays" noemt.
Apple heeft een patent gepubliceerd dat met dergelijke displays te maken heeft, wat duidt op een toekomstige iPhone met een scherm dat zich tot op de zijkanten van het apparaat uitstrekt, en interactieve of aanraakgevoelige delen heeft die toegang bieden tot de slide-to-unlock-functionaliteit, bedieningen van de muziekspeler, het hardop lezen van berichten, nummerweergave, systeembedieningen en meer.
Het is mogelijk dat Apple andere materialen zal gebruiken om de iPhone 7 duurzamer te maken. Voordat de iPhone 6 en 6 Plus onthuld werden, werd er gespeculeerd over het gebruik van saffierglas voor het scherm en een nieuw soort metaal voor de behuizing.
Ontwerp: Touch ID
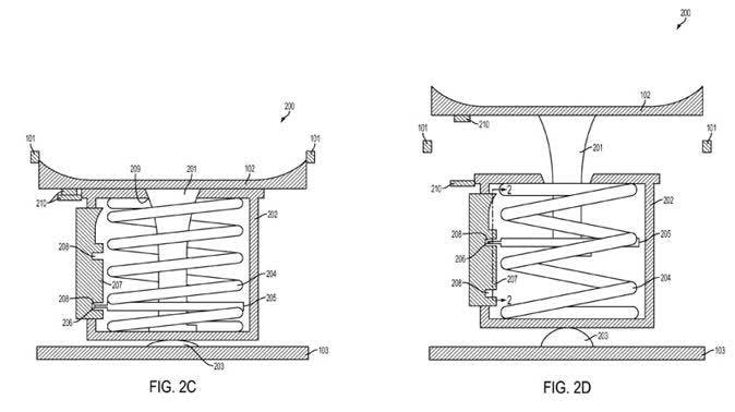
Eén element van het ontwerp van de iPhone dat het in de voortdurende opmars van miniaturisering bestand is tegen het inkrimpen is de rand onder het scherm - hij kan niet veel kleiner worden dan hij al is, omdat de thuisknop erop moet zitten. Daarom is er een terugkerende theorie dat Apple het scherm zal uitbreiden tot onder de thuisknop, of misschien zal het bedrijf zelfs de Touch ID-sensor die in de thuisknop van recente iPhones zit inbouwen in het aanraakscherm.
Er is ook een patent dat deze theorie onderbouwt. Patent application number 20150036065, voor een "fingerprint sensor (...) incorporated in a display stack in an electronic device". (dat wil zeggen: een vingerafdruksensor die ingebouwd is in het scherm van een elektronisch apparaat) werd in april 2014 door een aantal technici van Apple aangevraagd, en werd onlangs gepubliceerd. Hier is een aantal bijbehorende illustraties (maar bedenk wel dat patentafbeeldingen meestal spuuglelijk zijn, en dat ze waarschijnlijk weinig zullen lijken op het uiteindelijke ontwerp).


We weten nog steeds niet helemaal zeker wat het nut zou zijn van dit ontwerp, aangezien de thuisknop niet eens verdwenen is - en dus levert het ontwerp niet een groter scherm op.
En we waren niet echt te spreken over de betrouwbaarheid van de Touch ID-sensor op de iPhone 5s, die enorm gevoelig lijkt te zijn voor vet op de thuisknop. Als je bedenkt hoe vuil een iPhone scherm kan worden, lijkt het alsof het nog erger zou kunnen worden, voordat je nog maar nadenkt over de potentiële complicaties van het inbedden van een sensor in de schermelementen.
Met andere woorden, dit lijkt vooralsnog vergezocht.
Ontwerp: Saffierglas...
Apple gebruikt al saffierglas in het scherm van de Apple Watch, en het is mogelijk dat het bedrijf nu gereed is om het materiaal voor haar smartphones te gaan gebruiken. Saffierglas is sterker dan Gorilla Glass, dus het zou een ideaal materiaal kunnen zijn voor het grotere scherm.
Apple steunde een saffierglasfabriek in Arizona - gerund door GT Advanced Technologies - die volgens rapporten gebruikt zou kunnen zijn om 200 miljoen iPhone-schermen per jaar te produceren. Maar dat bedrijf is inmiddels failliet verklaard, en was niet in staat om aan Apple's eisen te voldoen.
Maar nieuwe rapporten suggereren dat Foxconn (een langdurige leverancier van Apple) in Azië haar eigen saffierglasfabriek aan het bouwen is en de plaats van GT Advanced Technologies in zou kunnen nemen.
De geplande fabriek van Foxconn in Taiwan zal 2,6 miljard Amerikaanse dollar kosten om op te zetten, maar het zou een enorm voordeel kunnen bieden omdat bedrijven staan te springen om betrokken te zijn bij de productie van de volgende iPhone.
Ontwerp: ...of extreem gehard 'Project Phire' Gorilla Glass
Saffierglas klinkt goed, maar je moet Gorilla Glass (het materiaal dat voor de huidige iPhones gebruikt wordt) niet meteen afschrijven.
Corning, het bedrijf dat Gorilla Glass maakt, heeft gereageerd op de dreiging van saffierglas. Het bedrijf heeft begin februari 2015 heeft een nieuwe ontwikkeling aangekondigd: een extreem gehard composietmateriaal dat op dit moment bekend is onder de naam Project Phire.
Op een vergadering van investeerders legde James Clappin, voorzitter van Corning Glass Technologies, uit hoe het bedrijf saffierglas denkt te gaan verslaan: 'We hebben jullie vorig jaar verteld dat saffierglas geweldig is omdat het bijna niet krast, maar dat het niet goed presteert wanneer je het laat vallen. Dus hebben we een product gemaakt dat dezelfde superieure weerstand tegen beschadigingen en krassen biedt als Gorilla Glass 4, met een krasbestendigheid die in de buurt komt van saffierglas.'
Ontwerp: Liquidmetal-behuizing
Er wordt ook gezegd dat Liquidmetal overwogen wordt als materiaal voor de behuizing, omdat het steviger is dan aluminium: een kleinere hoeveelheid van dit materiaal is even sterk als het metaal dat voor Apple's huidige iPhones gebruikt wordt. Hierdoor zou Apple de grotere iPhone licht en dun kunnen houden, ondanks het grotere scherm. De kans is is groot dat Apple bezig is met de weerbaarheid van het apparaat, na de bendgate rondom de iPhone 6 Plus.
Het verwijderen van de omlijsting van de grotere iPhone om een scherm te creëren dat het gehele oppervlak bedekt, zou betekenen dat Apple een groter scherm zou kunnen introduceren zonder dat de iPhone zelf veel groter hoeft te worden.
Afbeeldingen en video's
We hebben nog geen gelekte foto's van de iPhone 7: op een gegeven moment zal een fabrieksarbeider in de productieketen een foto maken van een belangrijk component of een onvoltooid toestel, en dan kunnen we daaruit elementen van het ontwerp afleiden, maar tot nog toe zullen slechts heel weinig mensen buiten de ontwerplabs van Apple plannen of modellen van de iPhone 7 gezien hebben.
Toch heeft een aantal getalenteerde ontwerpers en illustratoren al aan conceptafbeeldingen van de iPhone 7 gewerkt: impressies van hoe de iPhone 7 eruit zou kunnen zien.
Allereerst is er een indrukwekkende reeks ontwerpen die een belangrijk element van het ontwerp van de Apple Watch gebruikt - de digitale kroon - en deze op de zijkant van de iPhone 7 plaatst. Het is niet echt geloofwaardig, maar het is een fascinerend en fantasierijk idee.



Een beetje radicaal naar onze smaak, maar wat een geweldige voorbeeld van lateraal denken! Deze afbeeldingen zijn gemaakt door ADR Studio. Kijk eens op hun website voor de rest van de reeks.
Ontwerper Martin Hajek is bekend om zijn werk op dit gebied. Hij heeft een aantal prachtige afbeeldingen van de volgende iPhone gemaakt, en zijn ontwerpen kijken net als het werk van ADR naar de manieren waarop het ontwerp geïnspireerd zou kunnen zijn door de Apple Watch - maar wat betreft de kleuropties in plaats van drastische wijzigingen van de bedieningen.


Je kunt de volledige set zien op Hajek's website.
We hebben ook een aantal prachtige concepten van kunstenaar Yasser Farahi gezien. Hij heeft slimme nieuwe kleuropties bedacht voor de iPhone 7 - gevarieerder dan die van de iPhone 6-serie, maar terughoudender en volwassener dan die van de iPhone 5c.




Op Farahi's site is meer te zien.
Laten we even teruggaan naar Martin Hajek. Een iets ouder iPhone 7-ontwerpconcept van Hajek is gebaseerd op het idee dat het scherm van de volgende iPhone helemaal tot aan de randen door zal lopen, waardoor de telefoon zelf iets kleiner kan zijn dan de huidige iPhone 6 terwijl het scherm toch even groot is.



Het idee waar het om gaat: een gat in het scherm waar de Touch ID-knop moet komen.



Als dat nog niet genoeg is: we beginnen ook al conceptafbeeldingen van de iPhone 8 tegen te komen. Ja, de iPhone 8. Het wordt echt te gek.
Op de website van Behance heeft ontwerper Steel Drake een aantal afbeeldingen gepost van hoe de iPhone 8 eruit zou kunnen zien wanneer deze over een aantal jaar verschijnt. Dit concept van de iPhone 8 is helemaal bedekt met glas, behalve de metalen zijkanten.






